



 
 
400 6626 286
產品描述
MX-RT-06系列熔體壓力表,其采用了英國進口的高穩定機芯,并且采用膜片隔離、壓力現場指針指示,機械式結構,無需電源供電,原裝進口機芯,在MX-RT-05系列的基礎上又添加了金屬軟線,使表盤可正反安裝,表殼任意360度調整最佳可視角度,廣泛應用于化纖,塑料擠出行業高溫壓力的監測。
 
應用領域
?化纖拉絲設備
?醫藥、食品加工、包裝設備
?板材擠出機、型材擠出機
?造粒回收機等
?其它高溫流體的壓力測量和控制
?塑料橡膠制造設備
產品特點
?良好的穩定性和重復性
?15-5PH膜片材質
?最高耐溫350℃
?可以替代同等美國進口產品
?高精度、高穩定性
?全不銹鋼封裝
?壓力直接顯示、不需供電
?良好的穩定性和重復性
?抗振動、抗沖擊、量程范圍寬、可測量絕壓、表壓和密封參考壓
 
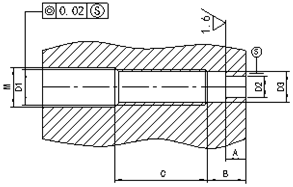
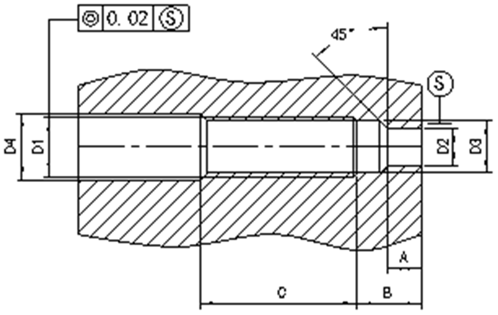
外形尺寸
 
 
                                                        平面密封  | D1 | M22×1.5 | M28×1.5 | G3/4″ | PT3/8″ | 
| D2 | Φ16.1 | Φ18.3 | Φ18.3 | Φ10.3 | |
| D3 | Φ20.1 | Φ26.1 | Φ24.2 | Φ14.9 | |
| M | Φ23 | Φ30 | Φ21 | Φ11 | |
| A | 11 | 12 | 12 | 14 | |
| B | 12 | 15 | 15 | 19 | |
| C | 40 | 35 | 35 | 40 | |
  45°斜面密封  | D1 | M12×1.5 | M14×1.5 | 1/2-20UNF | M18×1.5 | 
| D2 | Φ8 | Φ8 | Φ8 | Φ10.1 | |
| D3 | Φ10.8 | Φ12.5 | Φ11.5 | Φ16.1 | |
| D4 | Φ12.5 | Φ14.5 | Φ13.1 | Φ20 | |
| A | 6 | 6 | 6 | 6.5 | |
| B | 9 | 9.5 | 9.5 | 10 | 
技術規格
	 
| 壓力量程: | 0-2MPA(此量程請選擇大螺紋);0-20MPA 0-50MPA 0-100MPA 0-150MPA(量程可選) | 
| 綜合精度: | 1.5%FS 代號C; | 
| 工作溫度: | -20℃~350度 | 
| 非線性值: | 滿量程的0.2% ;過載壓力:1.5倍額定壓力 | 
| 膜片材料: | 15-5PH 帶涂層的不銹鋼;特殊膜片材質(請和選型工程師溝通) | 
| 表盤直徑: | 100MM | 
| 硬桿長度: | 硬桿長度:S:6″(英寸)(152mm),9″(230mm),12″(305mm) | 
| 軟管長度:N:18″(460mm),30″(762mm) 1英寸=25.5MM | |
| 壓力連接: | 1/2″-20UNF, M14×1.5, M18×1.5, M22×1.5,G3/4(可按客戶要求) | 
| 外殼材質: | 默認不銹鋼外殼 | 
訂購指南
	 
| 型號 | 量程 | 精度 | 直桿長/軟管長 | 安裝方式 | 無 | 無 | 
| MX-RT-06 | 50MPA | 1.5%S | 152MM/460MM | M22*1.5 | ||
| 訂貨舉例 | MX-RT-06-50MPA-152/460-M22 | |||||
特別提醒
如有不懂選型請咨詢銷售工程師,或者當地經銷商。
公司名稱:上海美續測控技術有限公司
辦公地址:上海市松江區三新北路1800弄國家電子商務園24號樓3層
工廠地址:上海松江區光華路650號
聯系電話:021-67881626   
公司網址:www.sltgss.com  、詳細說明請參照使用說明